 
		    
								北京汽车制造厂多次使用“北汽”商标,北汽集团回应“双方无股权、产权关系”
IT之家 6 月 7 日消息,北汽集团今天下午发表“澄清声明”称,近年来,北京汽车制造厂有限公司在其产品、宣传、子公司名称上使用北汽集团的“北京”“北京汽车”“北汽”等商标、字号,多次提到井冈山、212 等北京汽车工业历史。北汽集团方面称,北京汽车制造厂有限公司是一家生产基地主要位于山东青岛的民营企
IT之家 6 月 7 日消息,北汽集团今天下午发表“澄清声明”称,近年来,北京汽车制造厂有限公司在其产品、宣传、子公司名称上使用北汽集团的“北京”“北京汽车”“北汽”等商标、字号,多次提到井冈山、212 等北京汽车工业历史。北汽集团方面称,北京汽车制造厂有限公司是一家生产基地主要位于山东青岛的民营企
IT之家 6 月 3 日消息,诺基亚最近发布了 2023 年业绩报告,负责管理诺基亚的专利组合的诺基亚技术部门从智能手机专利许可中收取了大笔资金,相关部门在 2023 年例行更新了包括与苹果、联想和三星在内50余家公司的专利协议,尽管相关数字有所下降,但该部门依然获得了约 13 亿欧元(IT之家备注
IT之家 5 月 24 日消息,紫光股份今晚发布公告,宣布以支付现金的方式向 HPE 开曼购买所持有的新华三 29% 股权,拟以支付现金的方式向 Izar Holding Co 购买所持有的新华三 1% 股权,合计购买新华三 30% 股权,交易对价为 21.43 亿美元(IT之家备注:当前约 155
IT之家 5 月 9 日消息,据韩联社报道,SK 海力士子公司 SK 海力士系统集成电路拟向无锡产业发展集团有限公司转让所持有的 SK 海力士系统集成电路(无锡)有限公司(下文简称无锡晶圆厂) 49.9% 股权。SK 海力士系统集成电路于 2018 年从母公司独立,主要从事 8 英寸晶圆成熟制程代
IT之家 4 月 7 日消息,据上汽集团官方消息,继去年底与印度钢铁巨头 JSW 集团签署战略合作协议后,近日,上汽已收到 JSW 支付的 265 亿卢比(IT之家备注:当前约 23 亿元人民币)股权转让款。公告称,2017 年上汽全资设立 MG 印度公司,实缴资本 292 亿卢比(当前约 25.
IT之家 2 月 24 日消息,沃尔沃汽车 23 日发表声明宣布,计划将价值约 95 亿瑞典克朗(IT之家备注:当前约 9.21 亿美元,66.31 亿元人民币)的极星汽车股票转让给股东。据悉,沃尔沃汽车在极星汽车中 62.7% 的股权将被分配给吉利汽车。若下个月的 2024 年年度股东大会批准该提
IT之家 12 月 19 日消息,今日晚间,东方材料宣布公司与诺基亚就收购 TD TECH HOLDING LIMITED 51% 股权事宜达成和解、终止本次交易,并与其签署《Settlement Agreement》。今年 4 月 9 日,东方材料宣布拟通过定增募资,收购通信巨头诺基亚所持有的 T
IT之家 11 月 29 日消息,11 月 25 日,长安汽车与华为技术有限公司签署了《投资合作备忘录》。经双方协商,华为拟设立一家从事汽车智能系统及部件解决方案研发、设计、生产、销售和服务的公司(以下简称“目标公司”),长安汽车拟投资该目标公司并开展战略合作。据路透社报道,三位知情人士表示,华为技
IT之家 10 月 26 日消息,IT之家从零跑汽车官方公众号获悉,Stellantis N.V.(下称“Stellantis 集团”)和浙江零跑科技股份有限公司(下称“零跑汽车”)今日宣布:Stellantis 集团计划投资约 15 亿欧元以获取零跑汽车约 20% 的股权,这将使 Stellant
IT之家 10 月 25 日消息,据彭博社,StellantisNV 即将与零跑汽车达成收购协议,将收购零跑约 20% 的股权。零跑汽车拒绝置评。Stellantis 则表示,该公司“正在研究如何在全球汽车市场电气化的背景下抓住与中国制造商动态相关的商机”,但没有进一步详细说明。一位知情人士称,两家
光大嘉宝近期接受投资者调研时称,近年来,随着国内宏观经济下行压力增大、房地产政策持续调整、疫情叠加影响等,房地产企业的流动性问题日益突出。上市房企尤其是民营控股为主的,爆雷不断。在这种情况下,房地产利好政策接连出台,“三箭齐发”共同托底房地产供给侧,股权融资作为“第三支箭”,补足政策组合拳中的最后一
皓元医药:拟购买药源药物100%股权,下调交易额至4.1亿元,并将标的公司累计承诺净利润下调500万元 皓元医药:拟购买药源药物100%股权,下调交易额至4.1亿元,并将标的公司累计承诺净利润下调500万元 2022年09月06日 19:34 界面新闻 皓元医药9月6日公告,公司发行股份及支付现金购
新日恒力9月12日收到上交所《关于宁夏中科生物科技股份有限公司控制权变更事项的问询函》,上交所要求公司及受让方披露本次协议转让的股份数量以及占总股本比例;说明受让方与其他股东之间是否存在一致行动等协议安排,是否实际已触发要约收购义务;及时根据相关规则要求履行权益变动报告等信息披露义务。公司前期公告显
中航产融 视觉中国 资料图拟清仓广发银行股权后,中航产融又打算出清所持的新华资产全部股份。10月24日,澎湃新闻注意到,北京产权交易所披露的新华资产管理股份有限公司100万股股份(占总股本的0.2%)项目公告显示,这一股份的转让方为中航工业产融控股股份有限公司(中航产融,600705.SH),转让底
观点网讯:6月24日,浙江中国小商品城集团有限公司发布关于拟收购浙江海尔网络科技有限公司 100%股权的进展公告。浙江中国小商品城集团股份有限公司(以下简称“公司”)与海尔集团(青岛)金融控股有限公司(以下简称“海尔金控”)于2021年6月16日签订《股权转让协议》,约定公司以44,930万元收购其
冰山冷热收重组问询函:要求说明前期策划本次交易时又拟收购松下制冷100%股权后交易双方未能达成一致意见的原因及合理性 冰山冷热收重组问询函:要求说明前期策划本次交易时又拟收购松下制冷100%股权后交易双方未能达成一致意见的原因及合理性 2022年10月12日 23:07 界面新闻 10月12日,冰山
有猫腻?标的公司亏损、多次遭环保处罚且实控人被限制高消,*ST西源仍“执意”千万元收购其股权,上交所火速发函问询 有猫腻?标的公司亏损、多次遭环保处罚且实控人被限制高消,*ST西源仍“执意”千万元收购其股权,上交所火速发函问询 2022年10月10日 13:30 和讯网 对于标的公司今年上半年出现
北京商报讯(记者 马换换)6月17日晚间,ST云城(600239)披露公告称,公司及全资子公司天津银润拟在云交所公开挂牌转让20家下属企业股权或合伙份额,拟出售标的资产预估值合计约56.2亿元,挂牌参考底价合计约60.26亿元,此次交易预计构成公司重大资产重组。ST云城表示,本次交易的标的资产为公司
直播吧10月2日讯 据企查查的信息显示,山东省济南市中级人民法院9月30日公示了一条文号为(2022)鲁01民初279号的股权冻结通知书,济南文旅发展集团有限公司作为被执行人,其持有的山东泰山足球俱乐部股份有限公司6250.13万元权益数额被冻结,冻结日期自2022年9月30日至2025年9月29日
本文源自:中华网财经 中华网财经4月27日讯,据银保监会4月26日消息,中国银保监会宜春监管分局公布的行政处罚信息公开表宜银保监罚决字〔2022〕12号显示,江西丰城农村商业银行股份有限公司因违规发放用于受让本行股权的个人贷款,宜春监管分局依据《中华人民共和国银行业监督管理法》第四十六条,对其罚款人
一家刚成立2个月,且注册资本仅100万元,实缴资本为0的公司,是如何撬动这笔高达10亿元的司法拍卖的? 为了偿还债务,解决流动性危机,“宝能系”旗下的资产正在逐个上架,该拍卖的拍卖,该转让的转让。近日,韶能股份(000601.SZ)公告称,深圳中院将公司第一大股东深圳华利通投资有限公司(下称“华利通
乐居新媒体 重庆讯 言鑫赫 6月28日,乐居新媒体获悉,重庆佳源名城房地产开发有限公司实际控制人从沈玉兴变更为香港万山集团有限公司,总股权比例48.8687%。 据悉,重庆佳源名城房地产开发有限公司成立于2020年11月23日,法定代表人为郑求兴,注册资本10000万元人民币,经营范围包括许可项
中新经纬9月14日电 近日,一款名为“羊了个羊”的小游戏风靡社交圈,并连续登上微博热搜。 据了解,这是一款卡通背景的消除闯关游戏,通关率不到0.1%。 14日晚间,吉比特在投资者互动平台上表示,间接持有“羊了个羊”的游戏研发公司北京简游科技10%股权。 具体来看,有投资者向吉比特提问称,霸榜热搜第一
9月14日,据上证e互动网站消息,有投资者向吉比特(603444)提问:这两日刷爆朋友圈,霸榜热搜第一的微信小游戏“羊了个羊”,开发公司为北京简游科技有限公司,请问吉比特是否通过厦门雷霆网络科技股份有限公司间接持有该公司股份?吉比特回应称,公司通过控股子公司厦门雷霆网络科技股份有限公司间接持有北京简
本文源自:挖贝网 挖贝网 6月8日消息,蕾奥规划(300989)近日宣布拟与深圳市高新投集团有限公司(高新投集团)共同出资设立深圳市高新投蕾奥私募股权投资基金管理有限公司(高新投蕾奥)。 据介绍,高新投蕾奥成立后,蕾奥规划拟与高新投蕾奥、高新投集团、深圳朗特智能控制股份有限公司、珠海横琴和衷至信投资
公告称,随着标的公司产能逐步释放,其经营业绩已快速进入爆发期,该项投资将为公司带来长期的利润贡献,成为公司重要的利润增长点。 6月30日,未来股份公告,公司拟收购瑞福锂业70%~100%股权及新疆东力70%~100%股权,通过整合锂矿开采、加工提炼等上下游产业,以布局新能源产业。公告称,本次交易不构
证券代码:002384 证券简称:东山精密 公告编号:2021-071本公司及董事会全体成员保证信息披露的内容真实、准确、完整,没有虚假记载、误导性陈述或重大遗漏。苏州东山精密制造股份有限公司(以下简称“公司”)于近日通过中国证券登记结算有限责任公司深圳分公司网上系统查询,获知公司控股股东、实际控制
本文源自:金融界 天眼查App显示,近日,华谊兄弟(天津)实景娱乐有限公司申请冻结上海览盛企业管理有限公司所持海南观澜湖华谊冯小刚文化旅游实业有限公司7000万人民币股权、览海控股(集团)有限公司所持内蒙古中瀛天山能源开发有限公司1800万人民币股权,合计共冻结8800万人民币股权。 天眼查显示,
Facebook视频应用无法在Apple TV上使用 据报道, Facebook的智能电视应用程序可以让用户收听各种视频、节目和直播,但无法再在Apple TV上使用。一些用户表示,在最近一次更新后,他们再也无法使用该应用程序。目前仍不清楚Facebook Watch应用是否因为最近更新引发的故障而
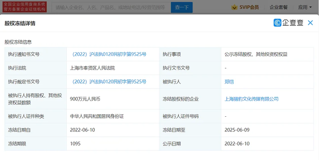
来源 | 企查查APP、新浪财经企查查APP显示,近日,上海猎豹文化传媒有限公司新增股权冻结信息,被执行人为郑恺,冻结股权数额900万元人民币,执行通知书文号(2022)沪法执0120民初字第9525号。企查查信息显示,上海猎豹文化传媒有限公司成立于2016年。注册资本1000万元人民币,大股东、实
中新经纬6月14日电 “郑恺900万股权被冻结”登上热搜!截图来源:微博 据国家企业信用信息公示系统显示,近日,上海猎豹文化传媒有限公司(下称“猎豹文化”)新增股权冻结信息,郑恺为被执行人,冻结股权数额为900万元,冻结期限自2022年6月10日至2025年6月9日。截图来源:国家企业信用信息公示系
【#郑恺所持猎豹传媒900万股权被冻结#[吃瓜]】天眼查App显示,近日,上海猎豹文化传媒有限公司新增股权冻结信息,被执行人为郑恺,冻结股权数额900万人民币。股东信息显示,郑恺持有该公司90%股份,并任监事一职。 中新经纬 “中新经纬”是中国新闻社创办的财经新媒体,致力于为海内外用户提供最权威的实
6月14日,据媒体报道,有资料显示上海猎豹文化传媒有限公司新增股权冻结的信息,被执行人为郑恺。作为该公司的大股东与实际控股人,郑恺此次被冻结股权数额为900万元。据悉,上海猎豹文化传媒有限公司成立于2016年,注册资本为1000万元,郑恺在该公司的持股比为90%,共认缴出资900万元。 而在前不
6月14日,根据第三方数据平台显示,上海猎豹文化传媒有限公司新增公开股权冻结信息,被执行人为明星艺人郑恺,股权冻结数额为900万人民币。执行通知书文号(2022)沪法执0120民初字第9525号。这家公司成立于2016年10月18日,注册资本为1000万元人民币,郑恺认资本900万,占股90%,是该
2022年3月17日晚,创始人王老师发一篇名为《卖了4套房,创业12年,如今负债1亿,无家可归》的文章刷屏了。注:“股权道”向来不参与八卦,我们的文章只为学习他人值得学习的地方,不踩他人踩过的坑。第二天,疑似前合伙人的李某发朋友圈,直指王老师曾用卑劣手段让自己从项目出去,背叛、屈辱,让她很长时间走不
【#南派三叔公司1547万股权被冻结#】企查查APP显示,近日,杭州量子泛娱影视文化传媒股份有限公司新增股权冻结信息,冻结数额1547万元人民币。企查查信息显示,该公司成立于2014年3月,董事长、法定代表人为徐磊(南派三叔),注册资本约1.26亿元,经营范围包括企业管理咨询、文艺创作、电视剧制作等
【#南派三叔公司1547万股权被冻结#,公司旗下有《盗墓笔记》等知名IP】企查查APP显示,近日,杭州量子泛娱影视文化传媒股份有限公司新增股权冻结信息,冻结数额1547万元人民币,被执行人为宁波梅山保税港区乐伟投资中心(有限合伙),该公司董事长、法定代表人为徐磊(南派三叔)。据了解,量子泛娱成立于2
#量子泛娱财务总监回应股权被冻结# 南派三叔公司量子泛娱财务总监回应“股权被冻结”一事,表示“公司已关注到网上消息,公司股东宁波梅山保税港区乐伟投资中心(有限合伙)属于公司财务投资人,不参与公司日常运营决策。该投资人共持有量子泛娱12.3163%的股权,现被暂时冻结。经与该股东方沟通,该股东方表示正
罗永浩的“真还传”,可能就快迎来大结局了。天眼查App显示,近日,成都野望数码科技有限公司新增股权解冻信息,涉及股权数额为5000万元人民币,被执行人为北京锤子数码科技有限公司,案由为服务合同纠纷。目前,由罗永浩任执行董事的北京锤子数码科技有限公司,股权冻结信息已全部清零。随后罗永浩也转发微博,对这
本文源自:智通财经网 智通财经APP讯,天健集团(000090.SZ)发布公告,公司全资子公司深圳市天健地产集团有限公司(简称“天健地产集团”)拟以人民币万元2.02亿元收购深圳市特区建工集团有限公司(简称“特区建工集团”)持有的深圳市深星辰科技发展有限公司(简称“深星辰公司”)70%股权。 深星辰
国有股东最后退场,字节跳动100%控股青岛小鸟看看。近日,企查查信息显示,青岛小鸟看看科技有限公司合计9.13%股权成功挂牌转让,转让方为青岛巨峰科技创业投资有限公司、青岛微电子创新中心有限公司、荣成市城建投资开发有限公司三家国有股东,受让方为字节跳动旗下的北京星云创迹科技有限公司。由此,字节跳动1
安奈儿公告,公司全资子公司安奈儿设计公司拟以现金8000万元受让长沙康卓服装合伙企业(有限合伙)持有的短视频平台IP和品牌代运营企业深圳红动视界文化传播有限公司20%的股权。公司将利用红动视界的经验和资源帮助公司在抖音、快手等平台进行直播销售,增强公司盈利能力。公司董事长为曹璋。曹璋先生:1969年
本文源自:智通财经网 智通财经APP讯,安奈儿(002875.SZ)发布公告,该公司全资子公司深圳市安奈儿研发设计有限公司(以下简称“设计公司”)拟以现金8,000万元受让长沙康卓服装合伙企业(有限合伙)(以下简称“长沙康卓”)持有的短视频平台IP和品牌代运营企业深圳红动视界文化传播有限公司(以下简
财经网金融讯 在年内多笔股权轮番登上拍卖台之后,厦门农商银行又一大股东所持股权全部被拍卖。12月22日,财经网金融从阿里司法拍卖网上获悉,厦门农商行有195笔股权将于12月31日进行拍卖。据梳理,被拍卖的股权合计达1.07亿股,被拆分为50万股到500万股不等共计195个标的进行拍卖,拍卖价格为4元
【重要公告】申能集团148.5亿元受让恒大集团所持广汇集团相应股权 傲农生物10月生猪销售量同比增逾4倍 【重要公告】申能集团148.5亿元受让恒大集团所持广汇集团相应股权 傲农生物10月生猪销售量同比增逾4倍 2020年11月02日 06:58 财联社APP 今日聚焦【广汇能源:恒大集团作价148
在马尔科姆·格拉德威尔所著的《异类》这本书中,呈现了一串颇具戏剧性的统计数据。比如比尔·盖茨和史蒂夫·乔布斯都出生在1955年,那是因为1955年前后正是计算机革命的时期,如果你出生太早,就无法拥有个人电脑,如果出生太晚,计算机革命的好机会又被别人占去了;再比如纽约很多著名律师事务所的开创者都是犹太
【环球网科技报道 记者 林迪】4 月 8 日消息,对于“哔哩哔哩将收购游族网络”的传言,B站回应称:与事实不符。 据报道称,B 战正在商谈购买游戏开发商游族网络 24% 的股权,作为价值近 50 亿元交易的一部分。此前,还有媒体报道,游族网络目前正在洽谈出售事宜。据了解,早在今年 3 月下旬,游族要
本文转自【环球财经网】;据悉,此次期权激励的授予对象主要是公司的核心中高层管理人员和技术骨干。购股权作为最直接的激励方式,将有效吸引并提升公司核心骨干员工的积极性。此番,共有 213位员工符合资格,可享受该福利。面对新冠肺炎疫情给所有企业带来的冲击,不少企业选择勒紧裤腰带过日子度过危机。利郎不仅保就
腾讯音乐收购懒人听书100%股权。腾讯音乐收购了懒人听书。1月15日,腾讯音乐娱乐集团(NYSE:TME)宣布,已与音频平台深圳市懒人在线科技有限公司(下称“懒人听书”)的全部股东达成最终协议。依照该协议,TME将会从阅文集团(00772.HK)、懒人听书管理团队以及其他财务投资者等股东处收购懒人听书100%股权。该交易目前预计将在2021年上半年完成,并需要满足惯常交割条件。交割完成前,懒人听书由天津阅文及其他卖方分别拥有39.8821%及60.1179%的股权。1月15日,阅文集团公告称,董事会今日宣布,天津阅文及其他卖方已经分别同意出售懒人听书的 39.8821%及60.1179%股权,
1月11日晚间,中兴通讯发布公告称,将以10.35亿元价格向北京屹唐半导体产业投资中心(有限合伙)转让公司所持北京中兴高达通信技术有限公司(以下简称“高达通信”)90%的股权。交易完成后,中兴通讯将不再持有高达通信股权。据悉,高达通信的业务主要覆盖“专网”(专业无线通信),包括应用于公检法司、能源、林业、水利、机场、港口等行业的专业集群系统和对讲机等专业集群终端产品。中兴通讯内部人士对记者表示,通过转让高达通信股权,中兴通讯将剥离非核心业务,聚焦5G主航道和关键业务。截至发稿前,中兴通讯跌0.66%,报34.70元。根据中兴通讯的最新财报数据显示,今年前三季度,中兴通讯实现营业收入741.3亿
在新冠肺炎疫情席卷美国之际,美国2020年首次公开募股(IPO)发行却创下2000年互联网泡沫破灭以来之最。这股IPO狂潮除了让早期投资者大赚特赚,也给予了发行新股的科技企业的创始人们更多在股权上的优势。但从此前Wework上市的例子来看,创始人绝对控股对企业上市及此后股票走势的影响未必有利,是否应让越来越多的初创企业采取双重股权结构上市令市场争议不断。越来越多科技企业上市采取双股权制度十多年前,仅有少数明星初创企业能够采取企业创始人或领导层比其他股东拥有更多投票权的双重股权结构(Dual-Class Share Structure),比如谷歌(Google)、脸书(Facebook)等。而在
新京报讯(记者 张秀兰)1月5日,老百姓大药房对外披露,拟以2.39亿元的流动贷款收购控股子公司兰州惠仁堂药业连锁有限责任公司(以下简称惠仁堂)股东张虎所持有的35%股权。加上老百姓此前收购的惠仁堂65%股权,此次交易完成后,惠仁堂将成为老百姓的全资子公司。老百姓表示,此举在于进一步提高持续经营能力和整体盈利水平,通过全面整合惠仁堂业务,加快实现在甘青宁市场的扩张。惠仁堂成立于2002年,注册资本为3000万元,主营业务为药品零售。2015年11月,老百姓收购惠仁堂65%股权,后者营收、净利润也从2014年的5.21亿元、1987.29万元,增长至2019年的10.73亿元、5384.38万元
 
		 
		    
								 
		    
								 
		    
								 
		    
								 
		    
								 
		    
								 
		    
								 
		    
								 
		    
								 
		    
								 
		    
								 
		    
								 
		    
								 
		    
								 
		    
								 
		    
								 
		    
								 
		    
								 
		    
								 
		    
								 
		    
								 
		    
								 
		    
								 
		    
								 
		    
								 
		    
								 
		    
								 
		    
								 
		    
								 
		    
								 
		    
								 
		    
								