腾讯申请注册多个“微博”商标被驳回

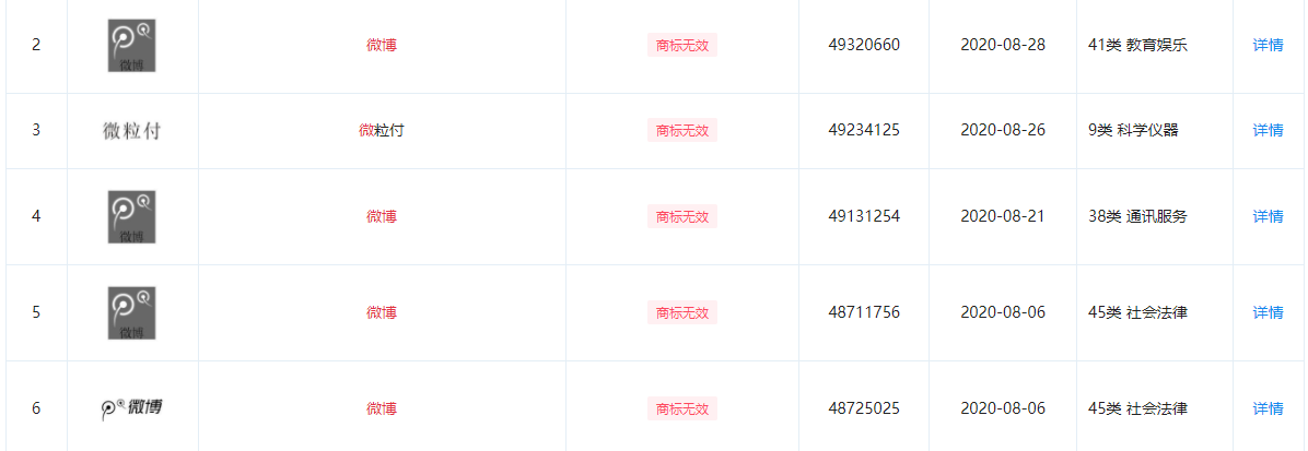
IT之家 8 月 20 日消息 企查查 App 显示,近日,腾讯科技(深圳)有限公司于 2020 年 8 月申请注册的多个“微博”商标状态变更为“商标无效”,商标国际分类包括通讯服务、教育娱乐、网站服务等。值得一提的是,今年 7 月,腾讯再次申请注册“微博”商标,当前该商标状态为“注册申请中”。

腾讯申请注册多个“微博”商标被驳回休闲区蓝鸢梦想 - Www.slyday.coM腾讯申请注册多个“微博”商标被驳回休闲区蓝鸢梦想 - Www.slyday.coM腾讯申请注册多个“微博”商标被驳回休闲区蓝鸢梦想 - Www.slyday.coM

IT之家了解到,今年 7 月 8 日腾讯申请的“微博”商标,包含商标名称以及图案,分类分别为教育娱乐、设计研究、通讯服务、科学仪器。目前,这几个商标的状态为正在申请中,尚未进入初审流程。

腾讯申请注册多个“微博”商标被驳回休闲区蓝鸢梦想 - Www.slyday.coM

相关推荐

  • 友情链接:
  • PHPCMSX
  • 智慧景区
  • 微信扫一扫

    微信扫一扫
    返回顶部

    显示

    忘记密码?

    显示

    显示

    获取验证码

    Close