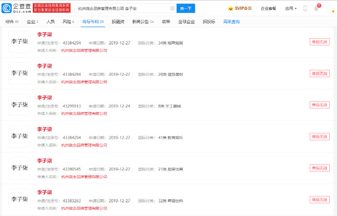
企查查APP显示,近日,李子柒正式起诉杭州微念品牌管理有限公司,此外,该公司申请的李子柒商标均被驳回,商标流程状态变更为无效、等待驳回复审等,国际分类涉材料加工、餐饮住宿等。企查查显示,杭州微念公司成立于2013年2月,2019年12月起,该公司接连申请多个李子柒商标。

企查查APP显示,目前,四川子柒文化传播有限公司已完成多个李子柒商标注册,商标国际分类涉教育娱乐、 广告销售等。该公司法定代表人为李佳佳(李子柒原名),经营范围包括文化艺术交流活动的组织、策划;企业形象策划;企业营销策划等。


企查查APP显示,近日,李子柒正式起诉杭州微念品牌管理有限公司,此外,该公司申请的李子柒商标均被驳回,商标流程状态变更为无效、等待驳回复审等,国际分类涉材料加工、餐饮住宿等。企查查显示,杭州微念公司成立于2013年2月,2019年12月起,该公司接连申请多个李子柒商标。

企查查APP显示,目前,四川子柒文化传播有限公司已完成多个李子柒商标注册,商标国际分类涉教育娱乐、 广告销售等。该公司法定代表人为李佳佳(李子柒原名),经营范围包括文化艺术交流活动的组织、策划;企业形象策划;企业营销策划等。

