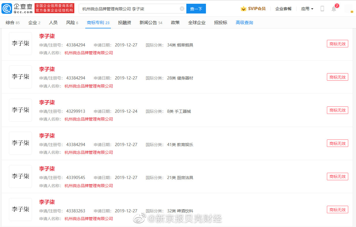
休闲区 杭州微念申请李子柒商标被全部驳回 2021-10-27 15:00 0 187 0 Share #微念注册李子柒商标被全部驳回#【#杭州微念申请李子柒商标被全部驳回# 】企查查APP显示,近日,李子柒正式起诉杭州微念品牌管理有限公司,此外,该公司申请的李子柒商标均被驳回,商标流程状态变更为无效、等待驳回复审等,国际分类涉材料加工、餐饮住宿等。企查查显示,杭州微念公司成立于2013年2月,2019年12月起,该公司接连申请多个李子柒商标。 相关文章杭州微念申请李子柒商标被全部驳回 企查查显示,杭州微念公司申请的李子柒已经全部被驳回。杭州微念申请李子柒商标被全部驳回 李子柒:想保护李子柒三个字杭州微念申请李子柒商标被驳回杭州微念注册李子柒商标被全部驳回杭州微念申请李子柒商标被驳回,这些商标属于子柒文化因李子柒与杭州微念存纠纷,字节跳动证实:退出投资杭州微念独家|知情人谈李子柒公司诉杭州微念案 字节跳动确认将退出投资微念两败俱伤?李子柒起诉合作经纪公司杭州微念 标签:商标 · 李子 · 杭州 0