
近日,浙江省杭州市税务局稽查局查明,网络主播黄薇(网名:薇娅)在2019年至2020年期间,通过隐匿个人收入、虚构业务转换收入性质虚假申报等方式偷逃税款6.43亿元,其他少缴税款0.6亿元,依法对黄薇作出税务行政处理处罚决定,追缴税款、加收滞纳金并处罚款共计13.41亿元。
据凤凰网科技报道,10月29日,双十一期间,薇娅、李佳琦头部主播税务问题备受关注。近日,有消息称,接到相关部门通知直播行业将迎来税务大整顿,因为税务问题,关于薇娅的文章和专访都要下架。对此,薇娅公司谦寻控股内部人士回应凤凰网科技:“假的、不是我们,别相信。”

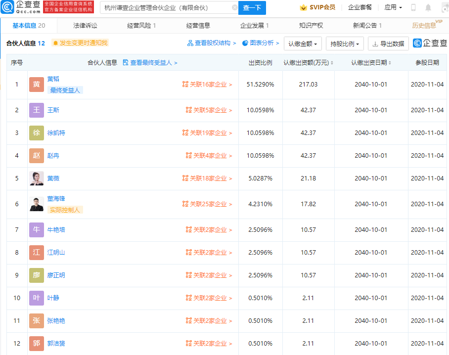
企查查APP显示,12月3日,杭州谦壹企业管理合伙企业(有限合伙)发生工商变更,企业状态由存续变更为注销,原因为决议解散。

企查查信息显示,该公司成立于2020年,执行事务合伙人为董海锋,经营范围包含:企业管理咨询、企业管理,其合伙人包括黄薇(薇娅)、董海锋(薇娅丈夫)、黄韬(薇娅弟弟)等。

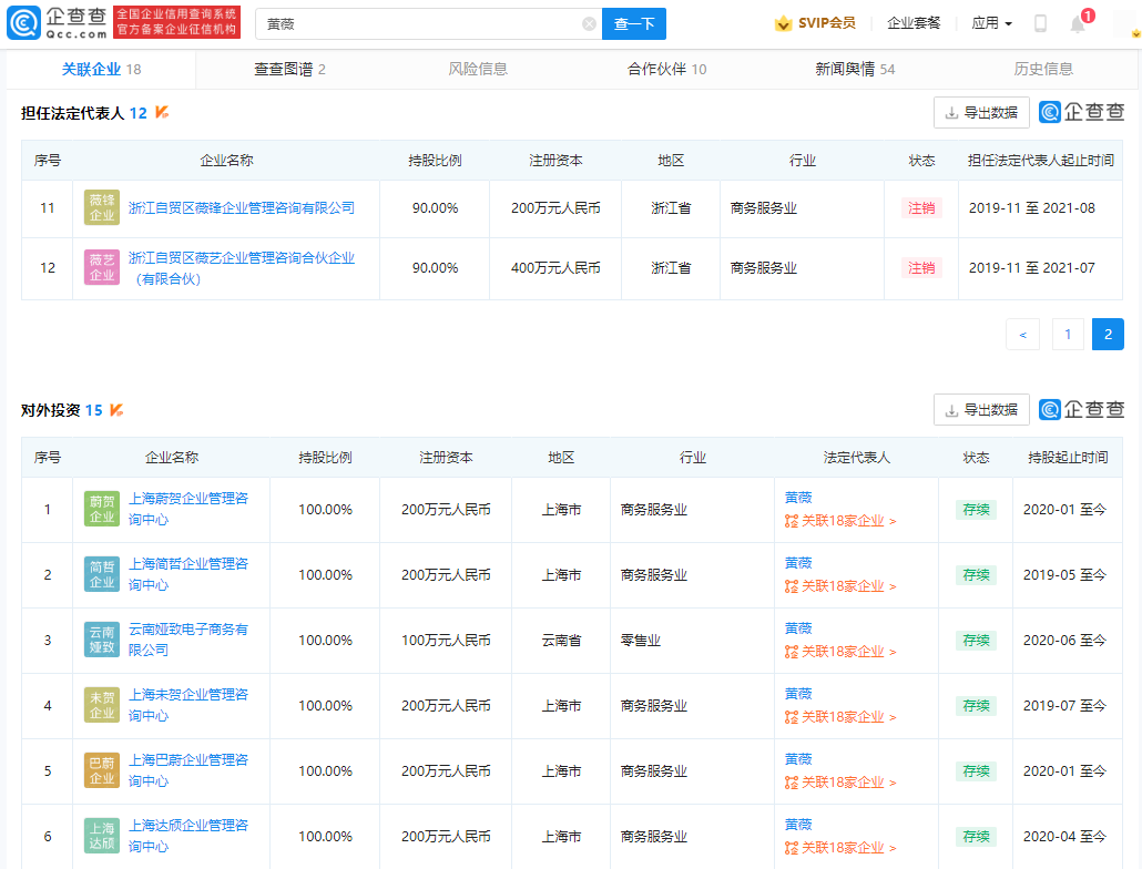
目前薇娅(本名黄薇)共关联18家企业,在12家公司担任法定代表人职务,值得注意的是2021年7月、8月,薇娅接连注销2家公司,此前薇娅夫妇合资公司杭州谦壹企业管理合伙企业(有限合伙)发生工商变更,经营状态变更为注销,目前薇娅控制企业共10家。

来源:九派新闻
