“带货一姐”薇娅偷逃税被追缴处罚13.41亿事件持续发酵。20日晚间,每经小编查询发现,薇娅微博、淘宝直播、抖音、快手等平台的账号已被封。

薇娅微博账号被封


薇娅淘宝直播间被封

薇娅抖音账号被封
薇娅快手账号被封
“对薇娅的影响应该非常大,毕竟是蛮严重的违法事件,企业家以及公众人物没有遵守好国家的法律法规所造成的影响,可能还不在于罚金本身。” 艾媒咨询CEO兼首席分析师张毅在接受每日经济新闻记者采访时表示。
值得注意的是,20日下午,薇娅事业部信息通知群截图流出,薇娅经纪人王斯(古默)发言表示,“接下来请大家先行回家休息,在此期间工资照发”。一位接近薇娅事业部的行业人士告诉《每日经济新闻》记者,此图片消息属实,后续公司将就此发布公告。

网红格局将被改写
在充斥着吆喝声的直播间,大部分用户失去理智,激情下单,一单又一单高昂的成交额不断刷新纪录,薇娅一步步成为“带货女王”,实现个人财富积累。
随着这则通报,一切戛然而止。
据央视新闻透露,税务部门近年来发现网络主播存在一定的涉税风险,于是展开了风险核查,发现薇娅存在重大逃税问题,并多次提醒督促整改,但仍整改不彻底,所以对薇娅进行立案调查,证实了她的违法事实行为,并作出相应的处罚。
很快,薇娅方面发布了致歉信,表示“完全接受税务部门对我做出的相关处罚决定,并将积极筹措资金在规定时间内完成补缴税款、滞纳金和罚款”。
图片来源:薇娅微博
薇娅的丈夫董海锋也发布道歉信表示:“我深知我们在税务上并不专业,因此聘用所谓的专业机构帮我们进行税务统筹合规,但后续发现这些所谓的合法合规的税务统筹均存在问题。在更为专业的财务团队到岗后,发现税务统筹有极大风险,于是自2020年11月至今,我们终止了所谓的税务规划统筹,按照45%个人所得税率全额缴纳薇娅相关税款,并主动补缴在此之前的不合规的相关税款。”
图片来源:董海峰微博
每经记者了解,主播带货收入主要来源于两大板块:一是“佣金”,即商家给予的带货分成比例;二是“坑位费”,一般存在于大主播身上。薇娅的直播间内,仅坑位费就达到了几十万元。
2020年,自新冠疫情爆发后,直播带货迎来了真正的“风口”,这个充满想象力的行业吸引了主播、明星甚至企业家的加入。张庭、舒畅、林依轮、贾乃亮等明星通过直播“翻红”,高流量明星杨幂、鹿晗、杨颖、李易峰等人也都出现在直播间,为商品或者项目卖货。
一度有人认为,直播带货是low的。这和电视里扯着嗓子吆喝“不要1999,只要999,现在拿起电话拨打……”的电视购物有什么区别?但头部主播与消费者之间建立起的一种陪伴与信任的桥梁,让直播带货这几年风靡各大平台,也成为很多明星的第二职业。
薇娅曾在《吐槽大会》上开玩笑说:“当明星有啥好的,明星的归宿都是带货,我只是想跳过当明星这一步。”不过在今年“618”之后,业内普遍认为“热度”降下来了。一位MCN机构从业者向每经记者透露,有明星去年的直播报价为20多万元,今年降到了不到5万元。
今年“双11”直播,成绩最漂亮的当属薇娅、李佳琦与雪梨,但雪梨与薇娅先后因为税务问题翻车。
11月22日,雪梨、林珊珊两大主播被依法追缴税款、加收滞纳金并处罚款6555.31万元、2767.25万元。随后,两主播被“全网下架”,微博、淘宝、小红书、抖音乃至淘宝等账号接连被封禁。如过山车一般,雪梨彻底从顶流主播变成查无此人。
迎接薇娅的又是什么?
据了解,薇娅原定于12月20日晚7点的淘宝直播被取消,截至发稿,薇娅的个人微博账号已被封,淘宝店铺被下架,直播间的所有视频已不可见。
“对薇娅的影响应该非常大,毕竟是蛮严重的违法事件,企业家以及公众人物没有遵守好国家的法律法规所造成的影响,可能还不在于罚金本身。” 张毅表示。
网红薇娅带火了MCN机构谦寻
作为绝对头部,薇娅、李佳琦不再只是“主播”。他们与大牌出联名产品,成为产品代言人,是综艺节目力邀的“主咖”,各界名人排着队来他们的直播间,待遇不亚于当红大明星。
有知名度、有钱,薇娅早已活成了“资本”。为了这一天,薇娅努力了近20年。
17岁,离开安徽老家到北京闯天地的薇娅,和当时还是男朋友的董海峰在北京动物园批发市场开服装店,自己当穿搭模特,成为批发市场里最火的档口,攒下人生中第一桶金;20岁,一直喜欢唱歌的她,参加选秀比赛,并在后来以女团主唱的身份出道;23岁,切断与演艺圈的一切联系,和董海峰一起重拾服装旧业,开了七家线下店,在西安、广州两地置办数套房产,过着忙碌而富足的老板娘生活……
图片来源:视觉中国
如果没有2012年的那次“背水一战”,薇娅只是中国千万服装生意人中的一员,断不会成为时代的面孔。那一年,薇娅和董海峰夫妇二人感受到来自电商的挤压,董海峰决定,关掉线下店,转战线上。“电商迅速崛起,西安店面租金越来越贵,还不如放手一搏,不要给自己留后路。”董海峰曾回忆道。
经营网店,几度亏损。“卖掉一套房子,又卖掉一套房子。把前面的积蓄都花光了,家里的生活越来越吃紧。”薇娅在接受鲁豫采访时说,电商这条路是不是选错了?那是薇娅最不自信的时候。
天无绝人之路,转机出现在2016年薇娅开始为淘宝当直播主播时。当时的阿里直播运营负责人发现,虽然直播带货还不赚钱,但薇娅却是最卖力的那一个。
后来的故事大家都知道了,短短几年之间,薇娅在这个“前无古人”的直播电商风口长出了丰满的羽翼,飞向她以前怎么也想不到的天空。2020年,薇娅的年成交额已超过300亿元,牢牢霸占着“带货女王”的宝座。
显赫的战绩带火了薇娅背后的MCN机构谦寻。2019年,薇娅夫妇成立谦寻(杭州)文化传媒有限公司,董海峰是该公司大股东。2020年、2021年,君联资本、云峰基金先后注资谦寻,谦寻将主营业务拓展为包括孵化网红主播、短视频内容生产及投放、全域内容营销等,目前已签下林依轮、李静、海清等转战直播带货的明星。
数据显示,谦寻已和超过5000家品牌达成过合作,累计GMV超过100亿元。除了自身公司被头部机构投资,今年1月,薇娅夫妇开始涉足私募股权投资领域。
财富巨升。2021年中国福布斯富人榜出炉,薇娅与丈夫董海锋以 90 亿元人民币的身家跻身前 500 名。
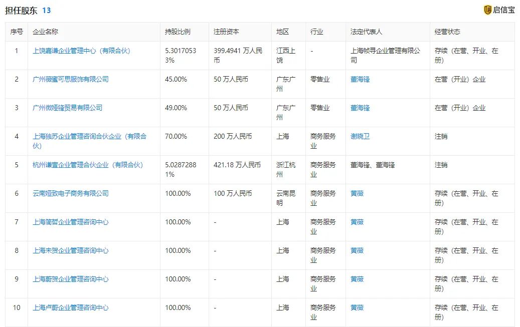
在偷税漏税丑闻出来前,薇娅已经清理了部分商业版图。启信宝App显示,目前薇娅(黄薇)共投资16家企业,包括上饶嘉谦企业管理中心(有限合伙)、广州薇蜜可思服饰有限公司、广州微娅锋贸易有限公司等;担任法人的企业共有8家,包括云南娅致电子商务有限公司、上海简哲企业管理咨询中心、上海未贺企业管理咨询中心等。
图片来源:启信宝
12月6日,薇娅和董海峰的合资公司杭州谦壹企业管理合伙企业(有限合伙)发生工商变更,企业状态从存续变更为注销,注销原因为决议解散。据了解,该企业成立于2020年11月,刚刚满一年。彼时,#薇娅夫妇合伙企业注销#还冲上微博热搜第一,有网友质疑, 是不是怕被查税才进行的企业注销。
图片来源:微博截图
即便为“直播一姐”,薇娅在直播方面也翻过车。早前,因为营养成分表数据存在偏差,号称全麦面包销售额第一、薇娅带货的品牌“田园主义”被上海市消保委点名,虽然事后该品牌创始人公开澄清出问题产品与薇娅所售产品无关,但薇娅并没因此在舆论场上全身而退。
直播行业或将迎来强监管
薇娅不是最后一个
薇娅被罚并非毫无预兆。10月29日,就有爆料称,直播行业将迎来税务大整顿,随后薇娅公司回应称:“假的、不是我们,别相信。”
但据一位从事电商行业的人士透露,相关部门对直播行业的查税已有数月。“薇娅不是最后一个,直播违法的不在少数,还有大主播也在被查。会不会真出问题,还是在处罚出来之前及时补交了处罚,就不好说了。”
为何直播带货会成为偷税漏税的重灾区,跟行业的迅速爆发紧密相关。
直播电商产业发展迅猛,毕马威联合阿里研究院发布的《迈向万亿市场的直播电商》报告显示,2020年直播电商整体规模达到1.05万亿元,2021年这一规模将扩大至2万亿元。而根据商务部此前公布的数据,2020年上半年全国电商直播活跃主播人数超过40万。
图片来源:报告截图
成交规模连年上涨,社会影响力持续扩大,直播间的各种“乱象”却屡禁不止:过度宣传、虚假宣传、退换货难、货不对版、退款难等都被用户诟病已久。
张毅对每经记者表示,作为业态新模式,直播电商行业发展迅猛,规模也在不断增加,直播电商为大众带来了就业机会和脱贫机遇。也正因为如此,部分监管手段没有及时跟上。“但这不意味着可以钻法律漏洞,应尽的公民义务不该忘却。”
多位从业者认为,卖货性质的直播与娱乐性的直播,都存在大量的偷漏税情况。张毅介绍,税务机关已在重点关注直播行业。电商直播因为涉及到货物,有章可循,但娱乐直播方面,大多为打赏性质的营收,如何征收税款?目前存在一定难度。
薇娅会“凉”吗?业内大部分在观望,并且持消极态度。“像薇娅这种头部主播的影响力已经不亚于一些明星了。”有直播行业从业者表示。
无论等待薇娅的是什么,在时代之下,也不过是一粒沙。张毅坚信,是市场需要,才出现了薇娅、李佳琦,而不是因为有薇娅、李佳琦,直播行业才蒸蒸日上。“市场足够大,头部主播的垄断反而对行业的发展不利。对商家而言,好像变得只有找他俩才有效果;对于平台而言,他俩要是不高兴就很麻烦;对于消费者而言,会怀疑是不是只有跟着他俩才能买到好的东西,其实也不然。”
高昂的佣金之下,大主播拥有了太大的话语权,让本就来自民间的薇娅成为造富神话。有商家苦不堪言,直言小的直播间没有人气,便咬咬牙也要请薇娅。
某券商的电话会中透露了超头部格局下,平台、品牌都很难受。“双11期间他们(超头部主播)对品牌话语权太强了,品牌作为销售,无论是市场,还是销售功能,都受制于他们。利润砍掉了很多,内卷格局了,必须要找他们,才能进TOP5。”过度强势的主播,让品牌变得被动,长期下去,会对国潮崛起、健康发展都不利。该券商人士认为:“薇娅一定程度上成为市场过强的渠道,也是她被罚的一层因素。”
东吴零售认为,税务方面,合法合规是经营的底线。找头部主播带货是为了排名,而排名是有限的。品牌和渠道的战争一直在持续,头部主播过于强大,甚至会影响品牌的健康发展。关于直播的未来,东吴零售分析称,直播带货本身不会有大问题,但头部主播越来越强的格局是有问题的。未来对于其他主播而言,平台、品牌都希望他们去做更多内容向的直播,而非仅仅索要折扣。未来或许更注重去中心化,直播的主播矩阵可能也会洗牌。
iiMedia Research(艾媒咨询)数据显示,新冠疫情影响下,直播普及率进一步提高,直播用户突破5亿。而薇娅被罚,直播行业势必迎来一波洗牌,张毅认为,会对整个直播电商市场的繁荣发展起到促进作用。“头部的集中会更加分散,各主播MCN机构的机会会更大,未来百家繁荣才是正常状态。”
