【#张庭9家公司于同日注销#,9家公司均成立于2021年】
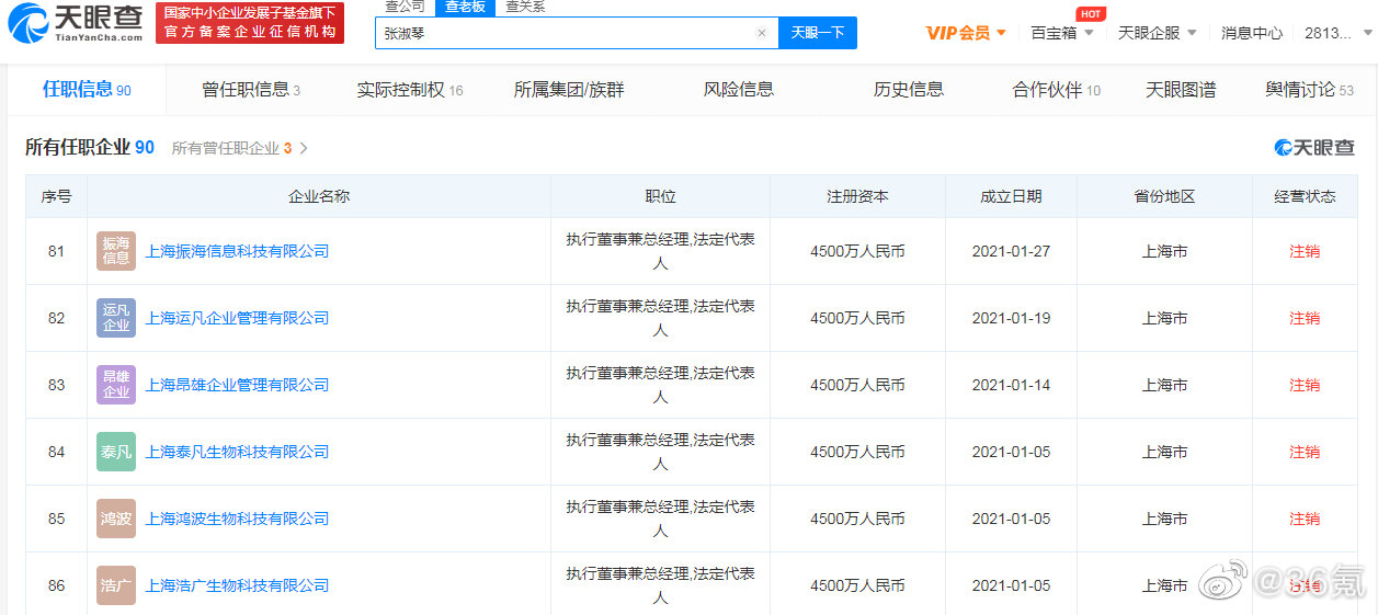
据蓝鲸财经记者工作平台,张庭、林瑞阳夫妇旗下的上海市达尔威贸易有限公司涉嫌传销被查。天眼查App显示,今年9月8日,由张庭担任法定代表人、执行董事兼总经理的9家企业注销,这9家企业均成立于2021年,注册资本均为4500万人民币。
张庭(张淑琴)相关公司有90家,其中,由其任法定代表人的公司77家,均位于上海市。值得一提的是,成立于2021年的公司多半已注销。林瑞阳(林吉荣)关联69家公司,其中,张庭、林瑞阳夫妇与陶虹均在上海达尔威贸易有限公司任职。此前的11月,陶虹曾退出另一家与张庭林瑞阳夫妇的合伙公司的股东行列。
截至目前,包括达尔威贸易公司在内,张庭与林瑞阳夫妇共同关联11家公司。


36氪 36氪(36Kr.com)是中国领先的科技新媒体,报道最新的互联网科技新闻以及最有潜力的互联网创业企业。
