近日有消息显示,知乎关联公司北京智者天下科技有限公司发生工商变更,北京搜狗信息服务有限公司、腾讯关联公司深圳市利通产业投资基金有限公司、白洁、黄继新等多个公司及自然人退出股东行列。对此知乎方面回应称,北京智者天下科技有限公司是知乎境外上市主体ZHIHU INC.的境内关联公司,此次架构变动是知乎公司治理的正常变动,同时也是中概股公司上市后的标准操作,知乎的实际控制人与重要股东及持股比例均没有发生变化。

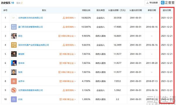
具体来看,北京创新方舟科技有限公司退出约18.08%股份,厦门思元投资管理有限公司退出约10.58%股份,邵忠退出约9.97%股份,深圳市利通产业投资基金有限公司退出约9.66%股份,黄继新退出约7.07%股份,李申申退出约7.07%股份,张亮退出约7.07%股份,金京华退出4.17%股份,北京搜狗信息服务有限公司退出约3.14%股份,白洁退出约1.3%股份。共有10个股东,退出了该公司约78.1%的股份。

在此次股份变更后,北京智者天下科技有限公司仅剩两名股东。其中,周源的持股比例从约21.2%上升到约99.31%,法定代表人李大海的持股比例不变仍为0.6933%。同时,北京智者天下科技有限公司主要高管也进行了调整,李大海从经理兼董事调整为经理,周源从董事长调整为执行董事,张宁从董事调整为监事;汪华、白洁、孙伟、王媛、杨建文、李朝晖、WUJING均退出董事,林莺退出监事。
事实上就在今天,腾讯还宣布以中期派息方式,将所持有约4.6亿股京东股权发放给股东。在此次派息后,腾讯对京东的持股比例由17%降至2.3%,不再为第一大股东,同时腾讯总裁刘炽平也将卸任京东董事。对此腾讯方面表示,对京东前景充满信心,未来双方将继续战略合作,同时腾讯一如既往支持更多成长型企业,践行长期投资战略。
【本文图片来自网络】
