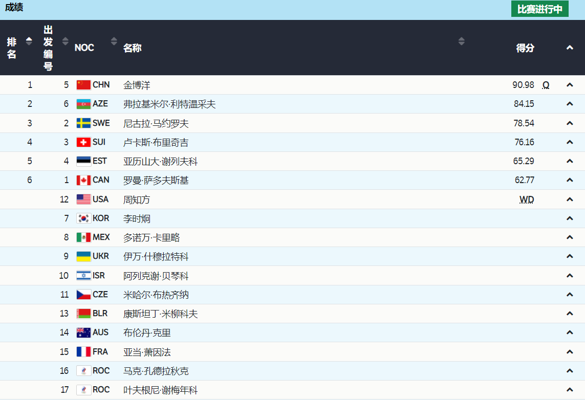
8日上午,北京冬奥会花样滑冰男子单人滑短节目比赛在首都体育馆进行。中国选手金博洋在第5个出场,配乐《卧虎藏龙》,演绎飞檐走壁、刀光剑影的场景,最终得到90.98分。央视体育直播解说:“金博洋,世界自由滑顶尖的选手,他把团体赛自由滑滑出了斗志!他就是那个18岁就为中国创造历史的金博洋!”
目前,金博洋暂时位列出场前6名选手中的第一,成功晋级。



今天金博洋依然身穿此前在团体赛中穿的那身水蓝色的比赛服,衣服上垂下一连串闪亮的亮片,而这些亮片从胸前一直延伸到背后,就像繁盛的枝叶舒展延伸。远远望过去,有种冰润如玉的感觉。

随着《卧虎藏龙》音乐开始,金博洋用中国功夫的动作亮相,开场的四周跳顺利完成,音乐进入“永恒的誓约”主题,他也顺利完成了第二个四周跳。随着音乐中战鼓声响起,金博洋在冰面上轻盈跳跃。整套动作完整得非常好,他自己也难掩激动之情,留下了泪水,他也得到了全场的掌声。

《卧虎藏龙》是金博洋在平昌冬奥会时就用过的曲目,为什么这次北京冬奥会再次用上了同样的曲子。对此,金博洋说:“之前我也想过很多其他中国风的音乐,但可能四年之后再回来滑《卧虎藏龙》会更加熟悉,能表达出更多的情感,对我来说也有好的寓意。”


上届平昌冬奥会,金博洋获得第四名,创造了中国男单历史最好成绩。他也是目前国内男子单人滑中世界排名最高的选手。
过去的这个赛季,金博洋处于一个逐步回升的状态。在去年10月进行的花样滑冰亚洲公开赛中,他仅获得了季军。赛后他表示自己赛前曾因为患阑尾炎住院,导致状态不佳。一个月后,在意大利都灵,金博洋终于调整好了自己的状态,并在短节目中拿到了97.89的高分。
之后,经过为期1个月的国内选拔赛,始终领先的金博洋以较大优势入选冬奥会名单。在前几天举行的北京冬奥会花滑团体赛中,金博洋两套动作为中国花滑队贡献了12分。
2月6日,在北京冬奥会花样滑冰团体赛男单自由滑的比赛中,金博洋虽然有一些失误,但比赛时的精神状态达到了预期,他为此感到满意。整套动作最终得到155.04分,是金博洋本赛季的最高得分。
“我在赛场上想的只有做好自己的动作,去尽力做好自己,至于获得第几,都交给裁判了。”金博洋给自己设定的本次冬奥会目标是,“展现最好的自己,不留遗憾。”
