这几天,吉林农业科技学院被推上了风口浪尖。
那么,吉林农业科技学院到底是什么样的一所学校?

我们先回顾下,这几天发生在吉林农业技术学院的一些事情。
起初,该校学生网络发声,指责学校疫情防控不力,这则消息一度冲上了热搜。3月10日,传出消息:吉林省委决定,总督学、省教育厅党组成员岳强兼任吉林农业科技学院党委书记,免去张立峰的吉林农业科技学院党委书记职务。
我们先看看张立峰的履历。

张立峰1967年9月出生,吉林扶余人,高级会计师。此前,他一直在高校工作,曾任吉林农业大学计划财务处处长、学校办公室主任,吉林农业大学副校长,吉林体育学院党委副书记,吉林农业科技学院院长,吉林农业科技学院党委书记。
因为张立峰曾经在吉林农业大学工作过,所以很多人认为吉林农业科技学院是吉林农业大学的下属学院,实际上两所学校没有任何关系。
那么,岳强此前曾在哪些岗位工作过呢?

岳强曾任吉林省教育厅人事处副处长,吉林省教育厅人事处处长,吉林省招生委员会办公室主任,吉林省教育厅副厅长、省高校工委副书记。 2014年01月,岳强任吉林省教育厅副厅长、党组成员; 2019年05月,岳强任吉林省总督学(正厅长级)、省教育厅党组成员; 2022年3月10日,岳强任吉林省总督学(正厅长级)、省教育厅党组成员,吉林农业科技学院党委书记(兼)。
3月10日晚,吉林农业技术学院还不断传出舆情,学生指责学校疫情防控不利。但是,很快这种舆情就消失了,在各方的努力下,实现了6556名学生、85名教师全部被转运到定点酒店进行隔离观察。媒体报道,此次转运过程有关部门共调集了300辆大巴车参与,同时周边兄弟城市像辽源、长白山、白城、白山、通化、松原共同分担了6034名师生的隔离任务。
疫情面前,人人有责,连夜转移了6000多名师生,难度是非常大的。但是,在吉林省各级政府的努力下,我们做到了,体现了真正的吉林速度!

舆情是没了,但是很多人更多的关注起这所学校。
实话实说,听到这所学校的校名,很多人会认为这所学校是一所私立学校。
但是,这所学校是一所货真价实的公办院校。
我们先看看这所学校的历史。
这所学校的历史可以追溯到1907年。
1907年,清朝末期,政府在吉林的东局子成立了“农学堂”。
因为东北土地肥沃,清政府在这里成立农学堂,也是希望通过科技助力农业增收。不过,在1937年,抗日战争爆发后,学校改为第一国民高等学校,校址迁往吉林的八百垅。国民党占领吉林后,与白山的斋斋农林学校合并,该名为“吉林省立农科职业学校”; 1948年5月8日,学校迁往吉林九站农业实验场,校名改为“吉林省立农业学校”。
新中国成立后,1966年初,学校与吉林省九站农业科学研究所合并,实行以所办学,改名为“吉林省九站农业劳动大学”设立农学系。
2001年,经教育厅批准,正式并入北华大学,定名为“北华大学农业技术学院”。
但是,2004年,这所学校迎来了新生。

2004年2月,经省政府批准,吉林特产学院与北华大学农业技术学院合并组建吉林特产学院。 2004年3月27日,国家教育部专家组在四川对全国升本学校进行评估,学校以全票通过升本院校,校名为“吉林农业科技学院”。 2004年5月18日,教育部正式发函同意建立吉林农业科技学院。
那么,吉林特产学院是一所什么样的学校呢?这所学校成立于1958年, 校址为左家镇,设经济动物、药草栽培、果树园林四个专业,学制四年。此后,吉林特产学院一直至于于吉林省的特产研究及开发。
通过这段历史,我们能够知道,吉林农业科技学院是一所实实在在的公立高校。因为是两所高校合而成,所以有九站和左家两个校区。

如今,学校占地面积166.3余万平方米,教学科研仪器设备总值达1.98亿元;设有9个教学院(部),46个本科专业,14个专科专业;有教职工902人,全日制在校生12584余人,成人学历教育函授生600余人。
这所学校的王牌专业有动物医学、野生动物与自然保护区管理、中药资源与开发、生物技术等。
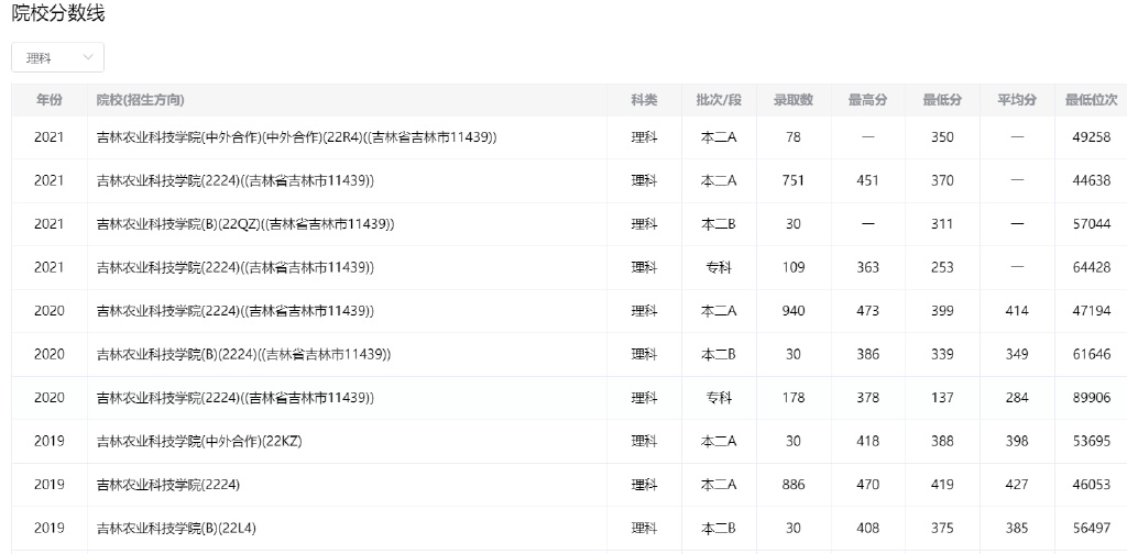
那么,这所学校的录取分数要多少呢?
我们看看。


每日汉字找到了近几年的录取分数线,看到录取分数线还是比较低的,理科300多分就能考上这所学校。文科在400多分就能进入这所学校。
通过这次疫情,吉林农业技术学院闻名全世界,带来的负面评价较多,每日汉字认为会影响今年的招生。不过,随着一把手岳强的上任,也许会给这所学校带来的新的机会。
这一切,都需要时间的考量,让我们拭目以待吧!【作者:每日汉字】
