疫情之下,随着银行业“强者恒强”的马太效应愈来愈明显,中小银行合并重组、抱团取暖曾掀起一波热潮。
近期,重组开业不足两年的郑州农商行,一则股权屡屡折价拍卖但却遭到市场“冷对”,两次拍卖均以流拍告终。合并银行的股权似乎并不香!

3300万股股权二拍6.4折无人问津
今日(6月16日)上午10时,郑州农村商业银行3300万股股权二拍宣告结束。在阿里司法拍卖平台上,该部分股权在经历了1076次围观、0人报名后,最终以流拍告终。

拍卖信息显示,上述被拍卖股权的评估价为1.749亿元,此次起拍价为1.122亿元。这意味着此次拍卖的价格已相较于评估价打6.4折进行拍卖,但仍遭遇市场冷对。
事实上,这不是郑州农商行3300万股股权第一次折价出售。
在今年5月末的第一次拍卖中,该部分股权当时的起拍价为1.3992亿元,较1.749亿元的评估价约8折进行拍卖,同样也因无人竞拍导致流拍。
实际上,在阿里司法拍卖平台上,拍卖股权的银行绝大多数是未上市的中小城商行、农商行以及村镇银行,因此拍卖遇冷时有发生。
不过,与这些银行略有不同的是,郑州农商行于两年前刚刚合并重组而来。
官网显示,郑州农商银行于2019年10月21日成立,其是由郑州市市郊农信社、郑州市市区农信社合并组建而成的股份制商业银行。
截至今年一季度末,郑州农商行的总资产已过千亿规模,为1018.14亿元,较年初增长0.97%,不良贷款率为2.19%。今年前3个月,该行实现营收7.81亿元,净利润4.98亿元。
有业内人士表示,尽管郑州农商行是合并银行,但仍为非上市的中小银行,其股权流动性比较差,这也造成了其股权拍卖时的大比例折让与流拍现象。
可以看到,线上拍卖平台主要以中小银行的股权拍卖较多,这是由于中小银行的股东也以地方中小型企业为主,这些企业自身的流动性管理能力较弱,容易出现由于流动性问题而导致其持有的中小银行股权被强制执行与司法拍卖的问题。
资料显示,郑州农商行的股权结构的确较为分散,法人股东有33家,合计持有该行50.52%的股份;而自然人股东为4298户,合计持有该行49.48%的股份,其中职工自然人股1312户,持股9.47%,其他自然人股2986户,持股40.01%。
对此,在本次股权拍卖中,郑州农商行也向法院致函表示,目前其法人股东持股比例为50.52%,自然人股东持股比例为49.48%。若股权分拆,可能导致众多自然人入股该行,不利于监管部门关于农商银行吸收优质法人股及法人持股比例高于50%的股权管理政策的落实,因此拍卖建议公司法人参与。
持有股东多次被法院列为“老赖”
据了解,郑州农商行的注册资本为33亿元,本次拍卖的3300万股股权占该行总股本的比例为1%。
同时,二拍公告显示,该笔股权是因被司法查封而遭到河南省郑州市中级人民法院公开拍卖,股权的持有人只显示为XX公司所有,但并未具体公布所有人名称。
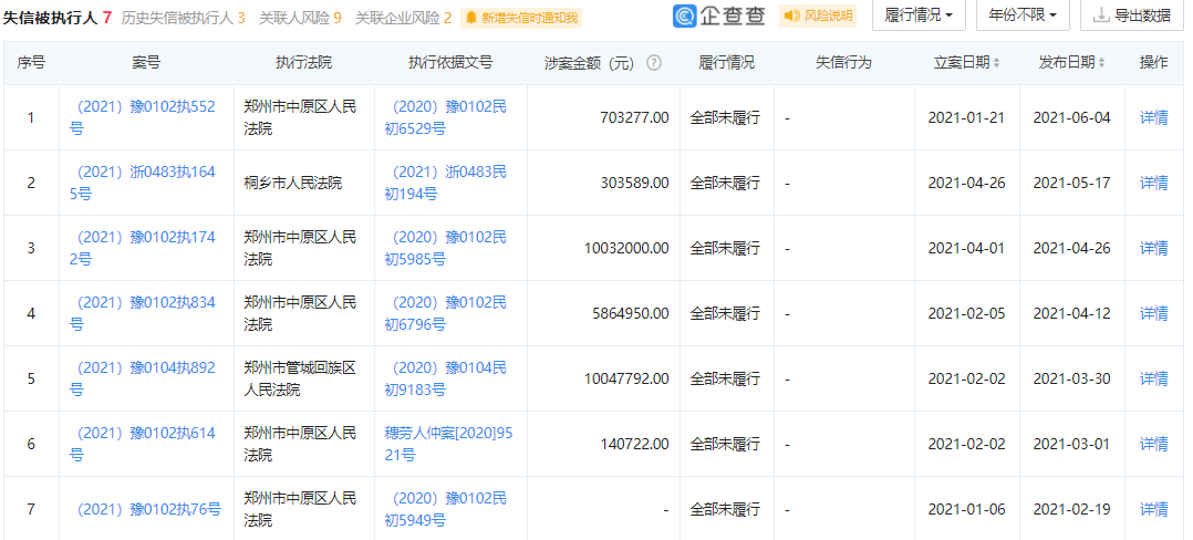
科技金融在线发现,企查查显示,郑州农商行目前有17条股权冻结记录,其中8条涉及自然人股东所持的股权,而剩余9条则与法人股东所持股权有关。
值得一提的是,9条与法人股东有关的股权冻结全部指向同一家法人股东——郑州领秀服饰有限公司(下称:领秀服饰)。

资料显示,2019年10月,在郑州农商行合并成立之时,领秀服饰曾出资3300万元,占该行33亿元注册资本的1%,正好持股3300万股。

另从领秀服饰所持郑州农商行被冻结的股权来看,冻结股权的最大数额也为3300万元,冻结法院正是拍卖郑州农商行3300万股股权的河南省郑州市中级人民法院。
同时,企查查显示,今年以来,领秀服饰已被法院先后7次列入失信被执行人(俗称:老赖),16次被法院限制高消费。

由此,郑州农商行被法院司法拍卖的3300万股股权,大概率为该公司所持有。
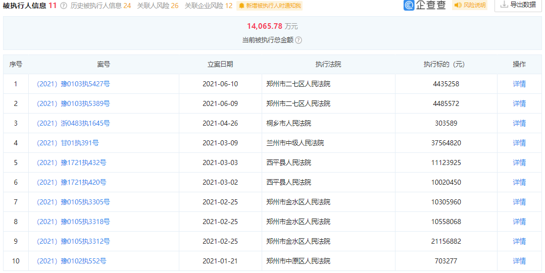
截至目前,领秀服饰仍有11条被执行人记录,当前被执行总金额约为1.41亿元。

有业内人士表示,股权被拍卖是因为个别股东层面的债务问题,对于郑州农商银行来说,1%比例的股权变更并不会对银行经营产生实质影响。
另值得一提的是,今年5月,郑州农商行因涉嫌虚报、瞒报金融统计资料等9项违规行为,被中国人民银行郑州中心支行罚款274.4万元。彼时,该行时任副行长王翔也被罚款4.75万元。
