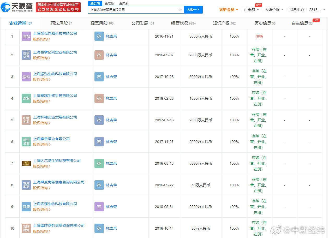
【#起底张庭夫妇传销公司# #张庭夫妇公司名下96套房产被查封#[吃惊]】据澎湃新闻报道,张庭林瑞阳夫妇创办、经营的达尔威公司因从事传销活动,导致该公司全资子公司上海振泓生物科技有限公司、上海巨擘亿网实业有限公司持有的96套房产被查封,价值17亿元,查封日期是2021年7月20日。
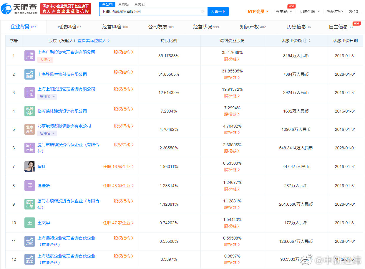
天眼查App显示,上海达尔威贸易有限公司成立于2013年6月,注册资本约2.32亿人民币,法定代表人、董事兼总经理为林吉荣(林瑞阳),董事长为张淑琴(张庭),该公司前两大股东分别为上海广鹏投资管理咨询有限公司、上海胜极生物科技有限公司,共持股约67%,两家公司法定代表人均为张庭。风险信息显示,达尔威贸易公司多次因服务合同纠纷、买卖合同纠纷被起诉,其中一则法律文书显示,该公司因拖欠供应商货款被判赔36万余元。2021年7月,达尔威贸易公司、振泓生物科技公司、巨擘亿网实业公司等多家张庭夫妇关联公司被保康县市场监督管理局申请保全审查。





中新经纬 “中新经纬”是中国新闻社创办的财经新媒体,致力于为海内外用户提供最权威的实时财经资讯。
