近来,张庭与林瑞阳的公司不断被曝出坏消息,他们先是被湖北襄阳市保康县的市场监管局认定为传销,之后又被指其名下96套房产被查封,价值达17亿元。

不过19日晚,张庭的公司就以律师函发布声明,称他们的达尔威公司正在接受并配合相关部门的合法调查,之所以一直没有发声是出于对法律的自觉遵守。
他们一再强调,由于案件复杂,他们目前并不方便回答各方问题,也请媒体不要无端猜测。

然而事情到了4月20日,却再次出现了反转。有媒体又报道称,张庭的好闺蜜陶虹作为该传销公司的大股东,在5年时间里,从张庭夫妇经营的达尔威公司分红4.2亿,其中后3年从公司分得的2.6亿元都是达尔威处于传销阶段的分红。#陶虹已要求从张庭夫妇公司退股#

并且,该媒体指出,目前陶虹已经要求从该公司退股。

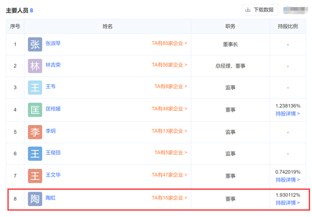
从达尔威公司的主要人员名单上看,陶虹现在仍在达尔威公司担任股东,而且她的持股比例为1.93%,股份甚至比张庭林瑞阳夫妇的还要多。

对此,不少网友都心存疑虑,一方面是陶虹作为股东,对公司涉嫌传销一事需不需要负连带的法律责任?

陶虹从公司分到这么多钱,缴税了吗?

另一方面,她即便是退股了,当初在传销期间拿到的分红需不需要退回来?她真的能干干净净地走,彻底和张庭夫妇撇清关系吗?

有网友就对陶虹的做法非常看不惯,直斥:“演员好好演戏挣得还不多吗?她能不知道这个公司是什么性质的吗?”质疑陶虹一开始就知道公司可能涉嫌传销,但仍然帮忙站台宣传。

确实,张庭的“T某T”品牌之所以能做到这么大,牵扯到如此庞大的金额,很大一部分原因都是因为它的明星效应。

作为明星夫妇创建的品牌,大众对于它本来就有一种天然的好感和信任感,再加上夫妻俩在娱乐圈人脉甚广,拉上了许多明星朋友帮忙宣传,使得“T某T”的影响力越来越大。
这其中,出现得最频繁的明星就属陶虹了。

她常常与张庭一起穿闺蜜装、出席活动,与“T某T”的员工们打得火热,甚至被代理们视为小老板娘,足以看出她在公司的参与度。


说到这里,也有网友提出,当初为“T某T”站台的也不止陶虹,还有林志玲、明道等人。如果要查陶虹,是不是也应该查一查这些人呢?

在张庭的公司出事后,陶虹就一直想撇清关系。

在此之前,她就退出了一家与张庭合开的公司,还出面否认过从张庭公司获得过4亿分红,表示“没有那么多钱,简直就是胡说”。

有网友还提起去年的时候,两人曾在网络上大秀闺蜜情。

张庭买下了上海滨江的一栋17亿大楼后,还大手笔送了陶虹一层楼,让人好不羡慕。

如今陶虹却想撇下昔日好闺蜜,独善其身,这样的状况也让网友不禁嘲讽:“平时好姐妹一起聚会拍视频,东窗事发了跑得倒快”,颇有种“大难临头各自飞”的意味。

此事在网络上吵得沸沸扬扬,就连孙红雷也赶在第一线“吃瓜”。也不知道他是手滑,还是知道点内情,他竟然还被网友发现点赞了一条与陶虹、张庭相关的动态,更让网友们猜测纷纭。


事到如今,几位当事人尚未发声,有关部门的通稿也还未公开,显然事情仍在调查之中,让我们一起静待着最后的结果,相信有关部门的工作人员一定会给大众一个满意的答案!
#陶虹从张庭夫妇公司三年分红2.6亿元#、#陶虹从张庭夫妇公司5年分红4.2亿#、#陶虹从张庭公司3年分红2.6亿元#
作者:十七
责编:十七
