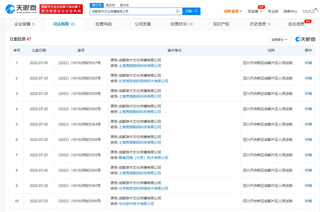
休闲区 谭谈交通维权方起诉多个平台 2022-07-22 15:41 0 171 0 Share 本文源自:金融界 天眼查App显示,7月20日,成都游术文化传播有限公司新增多条立案信息,被告分别为华为软件技术有限公司、B站关联公司上海宽娱数码科技有限公司、微博关联公司北京微梦创科网络技术有限公司、知乎关联公司智者四海(北京)技术有限公司,受理法院均为四川天府新区成都片区人民法院。 近日《谭谈交通》遭全网下架,成都游术公司维权引发关注。此前的立案信息及开庭公告显示,成都游术公司已起诉抖音、快手、B站、百度、搜狐、优酷、小红书、华为、咪咕等互联网平台。 相关文章2026 年元旦假期民众出行意愿旺盛,1 月 2 日跨区域人员流动量预计超 1.8 亿人次同比增长 13.4%美国加州施行交通新规:人行横道 6 米范围禁停,最高处罚 108 美元外卖骑手 1 周超 3 次交通违规将停单,广州新规敦促配送企业按最高 25km/h 设定时限火车票全网“免费退”?铁路 12306:系某平台吸引新会员的营销炒作向开发者免费开放文心大模型 4.0,百度文心智能体平台升级Basemark 发布 GPUScore: Breaking Limit 跨平台光线追踪基准测试一起玩更快乐:2023 年 Steam 平台合作类游戏发行量和销量均创纪录全球单体容量最大的漂浮式风电平台在广州建成,每年可发电约 5400 万度 标签:交通 · 平台 0
休闲区 威刚旗下 TRUSTA 多款存储方案亮相 CES 2026:读速 13500MB/s 7.68TB SSD、6400MT/s DDR5 R-DIMM 内存... 2026-01-06 Share