一周导读
1.苏州桥上新每日米露
2.锐澳冠名《心动的信号5》
3.徐梦洁成为十七光年品牌闪耀大使
4.兰舟果酒2软件著作权获准登录
5.WAT鸡尾酒申请“出酒机”专利
1.苏州桥上新每日米露
近日苏州桥上新了米酒新品—每日米露,共计4个口味:原味米露、芭乐米露、椰椰米露和芒果米露,其中芭乐米露有0.5和2度,其他三个口味为0.5度,容量为330ml。

据介绍,每日米露为了更好的保留水果和糯米的风味,采用了后杀菌工艺,即先完成自然甜发酵,然后再进行过滤和巴氏消毒。
2.锐澳冠名《心动的信号5》
综艺节目《心动的信号5》已经正式开播,据介绍第五季由Angelababy、李承铉、吴昕、汪苏泷、孟子义等加盟。

该季由RIO锐澳总冠名,节目中也进行了较多的互动植入环节。
3.徐梦洁成为十七光年品牌闪耀大使
据十七光年官微报道,徐梦洁成为十七光年低度酒品牌闪耀大使。

徐梦洁1994年出生于浙江省金华市,中国内地流行乐女歌手、模特、演员。2022年,与关晓彤、卜冠今、董思怡、李庚希合作主演的励志青春剧《二十不惑2》,在剧中饰演丁一煊。而此前十七光年则是电视剧《二十不惑2》的独家低度酒合作伙伴。
4.兰舟果酒2软件著作权获准登录
近日,低度酒之家获悉,兰舟果酒母公司杭州利口酒业有限公司的2款软件著作权获准登记,分别是客户信息综合管理系统和客户跟踪回访管理系统。
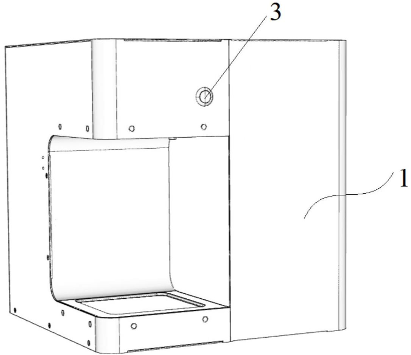
5.WAT鸡尾酒申请“出酒机”专利
近日,低度酒之家获悉,WAT鸡尾酒母公司一杯起(上海)餐饮管理有限公司在5月份申请的“一种出酒机及出酒方法”专利已变更为“申请公布”状态。

根据资料显示,该发明涉及出酒机技术领域,尤其涉及一种出酒机及出酒方法。该出酒机,由于在酒瓶上设有RFID标签,在出酒机主体上设有RFID识别器,当监测到储酒位上放置有酒瓶时,RFID识别器识别酒瓶上的RFID标签,获得识别结果,控制装置接收到出酒机主体上的开关被触发的第一触发指令时,根据识别结果获取出酒量信息,并按照出酒量信息控制出酒机主体的出酒量以注入酒杯中,进而该出酒机能够识别酒瓶中酒的种类且根据酒种类的不同、出酒量不同,从而实现智能出酒,且该结构简单,成本低。
低度酒之家是低度酒领域的垂直媒体门户,专注于低度潮饮(包括青梅酒、果酒、起泡酒、米酒、苏打酒等)的资讯,欢迎爆料/提供行业信息。
部分内容源自网络,如侵犯您的版权,请联系我们立即删除。
友情提醒:未成年人禁止饮酒。
