尽管美元的持续走强给黄金带来不小压力,但更喜欢逆势布局的外资巨头们,却已开始出手,大幅加仓黄金ETF。
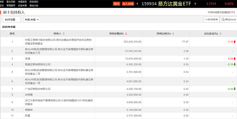
根据最新披露的基金半年报,全球最大对冲基金桥水旗下私募产品现身多只黄金ETF的前十大持有人名单。数据显示,截至今年6月底,桥水(中国)投资管理有限公司持有博时黄金ETF、华安黄金易ETF和易方达黄金ETF合计2.14亿份,持有市值达8.14亿元。
外资巨头的出手意味着什么?在业内分析人士看来,当前黄金市场的悲观预期正被市场充分计价,黄金或在未来迎来探底回升的窗口。
各大机构纷纷出手购金
博时黄金ETF半年报显示,截至上半年末,桥水全天候增强型中国私募证券投资基金三号、桥水全天候增强型中国私募证券投资基金一号和桥水全天候增强型中国私募证券投资基金二号分别持有该基金4662.48万份、929.42万份和871.06万份,分列其第二、第五和第六大持有人。

桥水中国的上述3只基金也出现在华安黄金易ETF和易方达黄金ETF的十大持有人名单中。


实际上,除了桥水基金,多家内外资机构也在“扫货”黄金ETF。巴克莱银行同时现身博时黄金ETF和华安黄金易ETF,对这两只ETF的持有份额分别为444.52万份和2110万份。
此外,中信证券、广发证券、华泰证券和国盛证券同时现身博时黄金ETF,合计持有2567万份;兴全优选进取三个月持有期混合型基金中基金和华商嘉悦稳健养老目标一年持有期混合型发起式基金中基金(FOF)则分列华安黄金易ETF第九和第十大持有人。
公开资料显示,今年以来,上述3只黄金ETF均取得正收益。尤其是第一季度期间,伴随着全球股市及商品市场的震荡,黄金的避险功能凸显,黄金ETF也因此获得不错的收益。
金价短期陷入低迷
值得关注的是,在通胀持续走高的背景下,欧美央行普遍采取更为激进的货币政策来应对。
今年6月美联储议息会议大幅加息 75个基点,创下近30年以来最大幅度的单次加息后,点阵图显示后续加息路径较为激进,叠加美联储6月正式开启缩表,美国实际利率在二季度出现大幅回升,导致国际金价二季度持续承压走弱。
对此,世界黄金协会用“黄金艰难的夏天”来形容刚刚过去的这1个月的金价表现。来自世界黄金协会的统计显示,截至8月,金价环比走低,下跌2%至1715.9美元/盎司,已是连续第5个月下跌。而自7月中旬开始的反弹在未能突破1800美元/盎司的阻力位后,在8月中旬再度失去动力。
数据同时显示,从整体持仓看,8月全球黄金ETF流出51吨,与金价表现相一致,这也是黄金ETF连续第4个月出现外流。

世界黄金协会分析认为,这一表现是在收益率持续上升和美元走强的背景下出现的,背后原因正是因为美联储重申了其进一步收紧货币政策的承诺。
逢低配置或是良策
北京时间9月8日晚,欧洲央行召开货币政策会议,宣布将三大关键利率上调75个基点,调整后的利率将于9月14日生效。欧洲央行表示,当前通胀率仍过高,预计后续将进一步加息以抑制通胀。
对此,华泰期货的研报称,虽然欧洲央行如期加息,美联储官员的鹰派态度也不曾改变,但从桥水等知名基金大举增持黄金ETF的动作可以看出,目前机构对于黄金资产的配置仍存需求,黄金可适当逢低多配。
世界黄金协会的统计显示,今年1至4月份之间黄金ETF累计流入量的三分之二已被近期的流出相抵消。尽管如此,世界黄金协会仍认为,黄金交易量有望在9月份出现回升。
“在8月,黄金的交易量降至每天1090亿美元,远低于7月份的水平(1490亿美元)和第二季度的月均值(1260亿美元)。随着市场活动的回升,我们将继续关注期货头寸和ETF流量。”世界黄金协会表示,这两个指标是观察黄金市场情绪的关键指标。他们也预计,随着季节性因素的影响,将导致消费者需求增加,也可能使得黄金的交易水平提升。
民生银行金融市场部分析师汤湘滨认为,短期看国际金价依然受美元强势的压制,目前国际金价还处于底部震荡状态,四季度后有望逐步反弹。“预计在美联储9月议息会议前,国际金价仍会在每盎司1680美元至1740美元这一底部区间震荡。而在9月议息会议靴子落地后,预计国际金价将转向反弹,建议在国际金价承压回落至1720美元下方时入场。”
“扫金热”又起!黄金价格大降
投资金连跌两月!是入手的好时机吗?
中秋国庆双节,一般是黄金消费的旺季。黄金消费情况如何?最近记者对北京市多家黄金卖场进行了探访。

在北京市西城区的一家黄金首饰销售门店,柜台前人头攒动。工作人员告诉记者,门店从8月中下旬就开始针对中秋消费旺季增加了产品备货。最近店里的中秋摆件、古法金饰等产品受到消费者热捧,黄金饰品销售明显增长。

一家门店的工作人员告诉记者,眼下的中秋节和即将来临的国庆节也是传统的婚庆旺季,新人扎堆结婚也带动了婚庆类黄金饰品的走俏。
根据金投网的数据,目前现货黄金的最新价格为382.1元/克,相比今年上半年的价格最高点460.85元/克已经回落17%。

中国黄金北京某门店店长 刘娜:9月以来从1日开始销售就有所上涨,比平时增加10%左右,最近一周,销量增加20%左右。
投资金价格连跌两月 北京金店金条销量增长
记者探访发现,近期销售增加的不只是首饰金,投资金也迎来一波购买小高峰。在北京的多家黄金销售门店,金条的销售也有所增长。
在北京市东城区的一家黄金门店,记者看到不断有消费者走进店内向工作人员询问金条价格。

北京市投资者:个人感觉金价还可能会上升,自己感觉可能会升值,所以趁着节日过来看看。

店长告诉记者,投资金的价格从今年7月份开始就一直震荡下行,许多来店顾客觉得,黄金价格经历短期下跌后,从长期来看还将上涨,店铺最近的投资金销量增长不少。
中国黄金北京某门店店长 刘娜:投资金销量增长在20%左右。

在西城区的一家门店的投资金销售柜台,销售人员正在向顾客介绍金条的重量和价格。据介绍,重量在100克到200克之间的金条因其变现灵活等特点备受投资者青睐,是店里销售比较好的产品。

菜百首饰北京总店工作人员 李洋:因为国际金价在下行过程当中,满足很多投资者心理的预期,金条作为家庭资产的配置,非常适合长期投资,所以销售明显有所增长。
