“升降摄像头”的设计在这几年的“挖孔屏”攻势下,已经逐渐成为了“时代的眼泪”,毕竟后者对机身的占用更少,并且对机身结构的影响也小得多。不过最近小米却有一份为弹出式摄像头模组准备的专利得到了授权,吸引了一些网友的关注。

这份专利的摘要简单地介绍了这种新设计,包含了:
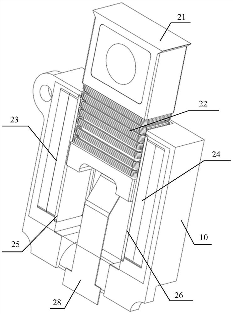
本公开提供了一种弹出式摄像模组和终端,涉及终端技术领域。所述弹出式摄像模组包括:模组壳体、摄像壳体、n个线圈、第一磁铁和第二磁铁,n为大于1的整数;模组壳体上形成有摄像壳体的弹出孔,摄像壳体上方的内部设置有摄像头;n个线圈并列设置且轴向环绕在摄像壳体下方的外壁上;第一磁铁和第二磁铁设置在模组壳体内,且n个线圈位于第一磁铁和第二磁铁之间。本公开实施例提供的弹出式摄像模组,相比于相关技术中,通过使用马达、齿轮组、丝杠等机械装置实现弹出和缩回,不仅降低了弹出式摄像模组结构的复杂度,而且节省了占用空间。
虽然文字描述很绕,但大家也可以参考一下专利里包含的摘要附图,这个设计看起来还是比较简洁的。

对比一下小米旗下最后一款升降摄像头设计的手机 Redmi K30 Pro,相信大家也能看出这份新设计能实现的“节省空间”预期效果。

虽然这个设计看起来的确实现了一定程度上的优化,但具体是否会落在量产机型上还是一个未知数。此外我们还可以关注到,这份专利的申请日期是 2019 年的 4 月底,而如今已经是 2022 年,这份专利会实装的概率属实不高,你会对此抱有期待吗?
